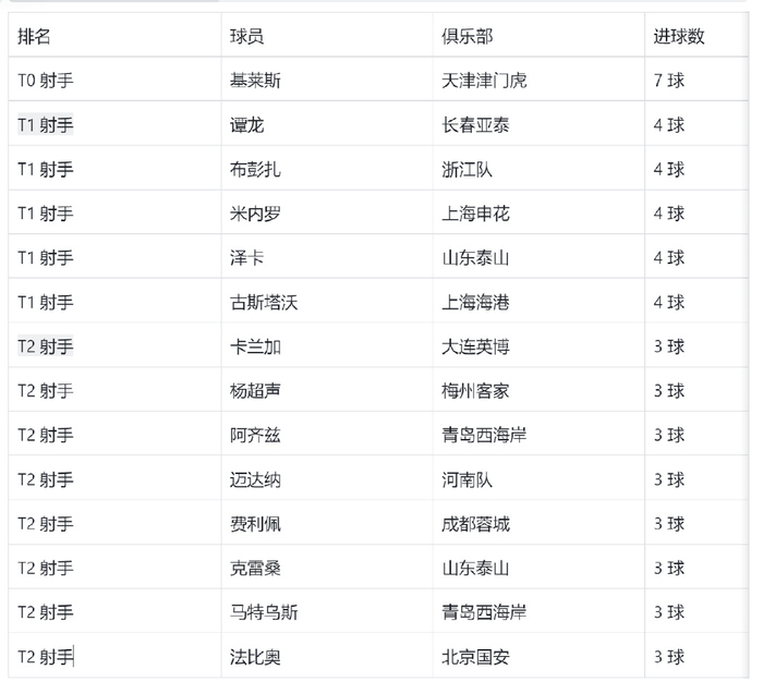
2025赛季,中超射手王武磊不在,中超射手竞争非常激烈。目前来说,T0级射手应该是天津队西班牙外援基莱斯。在联赛第一轮的时候,他差点帽子戏法, 中超前6轮拿到2次单轮MVP 。目前他是一枝独秀,领先T1射手集团3个球。

在T1集体里面。长春亚泰的谭龙,应该是国产射手的骄傲,打申花的时候他就有一个进球,在打梅州客家的时候,他梅开二度,而且还有一个技惊四座的吊射, 个人觉得他大概率会获得中超第六轮的最佳球员,不过要等到北京国安跟青岛西海岸,还有海港跟河南的比赛后,才能评选。
在T1的射手里面,中超三大豪门还有上海申花米内罗、山东泰山的泽卡、上海海港古斯塔沃。浙江队外援布彭扎是替代去年的莱昂纳多,现在进了4个球,也算是T1级的射手,厉害不要不要的,打申花的比赛,好像是他传球给王钰栋,还是其他人。对于黑人外援,笔者是脸盲,说实话,有时候,我是真的分不清马莱莱、米内罗、切尔西那个杰克逊的长相。
说到马莱莱,笔者想到他去年在射门还是进了21个球,在申花历史里面也是进入射手前10的T0射手了,但是本赛季他从申花去到大连英博后,甚至没有找到球门在哪,目前他打了6场比赛,进了1个球, 这个数据跟他的薪酬是真的不成正比。
那么经典问题又来了,前6轮进了1个球的马莱莱能重返T0级射手段位吗?笔者认为肯定不可以,因为他总是有莫名其妙踢呲的射门,其实从前6轮的比赛来看,球队对他的支援还是不够,基本上他都是靠自己能力争取机会,但是靠自己,能靠多少次,去年他可以进这么多球,关键还是靠特谢拉、吴曦、高天意、路易斯这些球员的支撑,但身边没有强力的队友后,马莱莱也是回归了平庸。 不过马莱莱好像跟大连英博签了几年,还有时间等球队打造阵容!